

一、路面狀況傳感器產品介紹
路面狀況傳感器又稱路面狀況檢測器,路面狀況傳感器采用遙感技術,多光譜測量技術使得能準確檢測道出道路表面結冰、積雪和積水的存在狀態和厚度,同時還能實時監測影響交通安全的大霧、雨和雪等天氣現象。
WX-LM1系列非接觸式路面狀態檢測器,它采用遙感技術,避免了對道路的破壞,從而不會因為安裝道路氣象站引起的對交通的干擾。多光譜測量技術使得能準確檢測道出道路表面結冰、積雪和積水的存在狀態和厚度,同時還能實時監測影響交通安全的大霧、雨和雪等天氣現象。
二、功能
l檢測路面積水、積雪、結冰狀態
l遠距離遙感檢測路面、橋面狀況
l非埋入式安裝快捷簡便
l車流量和事故多發區域
l雨雪多發區域
l維護成本低
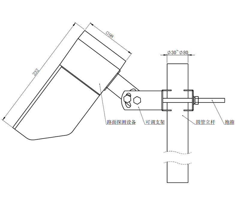
三、產品尺寸圖
四、主要指標
型號 | WX-LM3(停售) | WX-LM1 |
檢測距離及檢測區域直徑 | 2-8米;23cm | |
對水平線的安裝角度 | 30-80度 | |
電源及功耗 | DC12-24V; 0.6W | |
工作溫度和濕度 | 溫度:-40 oC 至 +60 oC ; 濕度:0 至 95% | |
積水厚度 | - | 0-10 mm |
覆冰厚度 | - | 0-2 mm |
積雪厚度 | - | 0-2 mm |
濕滑程度 | - | 0.01(濕滑)-0.82(摩擦強) |
路面狀態報告 | 干燥、 潮、 濕、 雪、 冰、 冰水混合 | |
公路天氣現象(選配) | 路面溫度: -40 oC 至 +60 oC | |
天氣現象: 雨;雪;大霧 | ||
路面材料 | 混凝土、瀝青路面 | |
通訊 | RS485、RS232 | |
?隨著夏季腳步的臨近,雨水增多,汛期也要隨之到來,這對于水利工程、灌溉工程等都是一個極大的考驗,需要提···
?WX-SW2水文監測系統是可以實時監測渠道內水位、降雨量的監測設備,在之前的監測方法中面對突如其來的洪水、···
?WX-Q3農業四情監測系統是一款針對農田中“土壤、蟲情、氣象、苗情、孢子”這幾大關鍵要素進行實時監測與預警···
?WX-N30前散射能見度傳感器的工作原理,基于光線在空氣中的散射特性。當傳感器發射出特定波長的光線后,這些···
?WX-EL2光伏EL缺陷檢測儀,其基本原理是利用光伏組件在電致發光狀態下發出的光來檢測組件內部的缺陷。當光伏···
?像這款WX-NY6六要素農業氣象站,在如此低溫的環境下仍然能正常運作,提供精準的氣象參數,通過各類傳感器,···
?WX-SL10森林氣象火險監測站集成了先進的氣象觀測設備,能夠實時監測溫度、濕度、風向、風速等關鍵氣象要素,···
?冬季,由于氣候干燥,一旦火源接觸易燃物質,火勢往往迅速蔓延,給撲救工作帶來極大困難。而WX-SL10森林防火···
?WX-CW48H 4通道48孔熒光定量PCR儀是一種基于聚合酶鏈式反應(PCR)原理的高通量檢測儀器。它能夠在短時間內···
?小型自動氣象站無需人工干預,即可自動生成報文,定時向中心站傳輸探測數據的氣象站,是彌補空間區域上氣象···
魯公網安備37079402370807 備案號:魯ICP備2022000322號-4 百度地圖txt地圖